With around 250 locations and 90 serve centers, we are represented in the most important economic regions of the world. The advantages are clear: short paths to our customers, fast response times and a shared language.
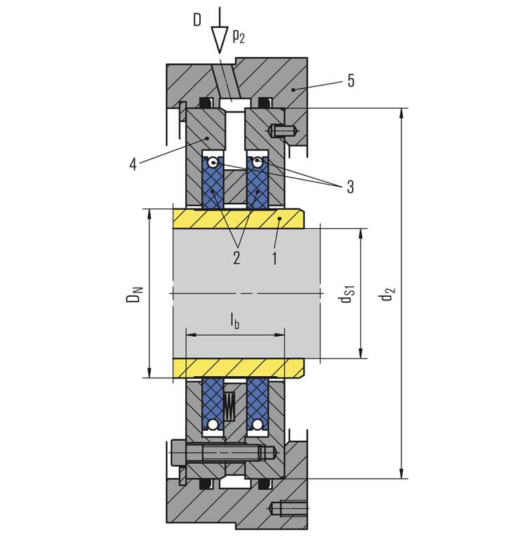
| Item | Description |
| 1 | Shaft sleeve |
| 2 | Segmented carbon ring |
| 3 | Garter spring |
| 4 | Housing of the standardized sub-cartridge |
| 5 | Housing (size matched to installation space) |
| D | Separation gas |
We develop and produce customer-specific special and individual solutions for every application.